0516-83665200

铜山区大发展,已经势不可挡!徐州“南部主城区”诞生!

发布于:2023-06-12        来源:网络        编辑:网络 扫描到手机

扫描到手机,新闻随时看
扫一扫,用手机看文章
更加方便分享给朋友

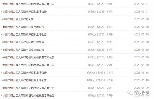
近日,点开铜山区自然资源和规划局与人民政府官网一看,发现从5月9日以来,竟然连发了18条拆迁公告,涉及棠张镇、大彭镇、黄集镇、张集镇、铜山街道、新区街道、利国镇、柳泉镇、伊庄镇、房村镇

01

为何铜山区一下子这么多地方要拆?


根据《徐州市铜山区国土空间规划近期实施方案》,未来铜山区将着力打造徐州南部主城区

规划空间需求情况


面临十四五发展的重要机遇,围绕落实国家“一带一路”、长三角区域一体化、淮河生态经济带等重大战略,着力提升城乡融合发展水平。徐州市铜山区将紧紧围绕铜山就是“中心区、主城区”的新定位,全面融入淮海经济区中心城市建设,着力打造徐州南部主城区

全区近期主要的规划空间需求包括:


一是省市重大产业项目,包括吕梁片区园博园、大彭片区循环产业园、 10 中农联冷链物流、淮海经济区农产品冷链物流园、铜山经济开发区徐钢三期等省市级重大项目;


二是区级重大产业项目,包括房村镇诚灏新材料、茅村大庄工业园、张集小商品市场、徐州润鸿新材料有限公司新型建材研发基地、俊成物流、康瀛物流等区级重大项目;


三是民生项目,包括利国、大彭等安置用地以及医院、小学、污水处理厂、垃圾中转站等重大民生工程;四是基础设施项目,包括徐贾快速路、大学路快速化改造、轨道交通 4、6 号线一期、徐州市房亭河综合治理工程、五园强排泵站、江苏沿海输气管道和玉龙湖提升改造工程等基础设施项目。


用地优化布局情况


按照“生态优先、绿色发展”的总体要求,实施组团化发展推进中心城区共建,优化形成铜山区“一核一城一环五片区”的城乡空间结构。以新一轮国土空间规划为引领,高标准高起点布局“一核一环一城五片区”。坚持片区联动、特色发展,加快汉王片区、方特乐园周边片区、园博园周边片区、铜山经济开发区转型发展片区、循环经济产业园片区和大许高铁新城规划建设。推动城市有机更新、镇区改造提升,加快培育一批有活力、有魅力的特色小城镇,着力构建中心城区、重点片区、特色镇区协调发展的城镇格局。

一是落实重大战略,融入中心城市建设。围绕落实国家“一带一路”、长三角区域一体化、淮河生态经济带等重大战略,着力提升城乡融合发展水平。本方案紧紧围绕铜山就是“中心区、主城区”的新定位,结合全面融入淮海经济区中心城市建设的新要求,着力打造徐州南部主城区。在用地空间布局上,以提升城市定位、完善城市功能、创新城市治理为重点,在夯实基础、完善功能、提升品质、放大能级上下功夫,重点推进基础设施互联互通、产业发展协作协同、公共服务共建共享,建设更具实力、更有活力、更富魅力的铜山。


二是优化资源配置,促进城乡空间优化和经济高质量发展。本方案综合考虑城市发展、经济布局、国土利用、生态环境保护等因素,兼顾生产空间、生活空间、生态空间统筹的要求,做好近郊区重点区域的用地布局调整,优化东南片区、北部生态新城、柳拾片区、西部大彭-汉王片区、大许片区等板块用地布局,提高节约集约用地水平,集聚有限的指标资源保障重点区域和重大项目用地需要,提高方案的针对性和可操作性。

02


以下是18条拆迁公告的详细情况,一大波片区即将蝶变。

江苏省人民政府关于铜山区

2023年度第2批次村镇建设用地的批复


铜山区人民政府:


你区呈报的(铜)地呈字〔2023〕第4号铜山区2023年度第2批次村镇建设用地收悉。根据《省政府关于委托用地审批权的决定》(苏政发〔2020〕40号),受省政府委托用地审批权,该批次由徐州市人民政府承接审批。经审查,现批复如下:


一、同意你区将棠张镇后谷堆村、张集镇孟庄村5.216公顷集体农用地(其中耕地5.216公顷)转为建设用地并征收为国有。


以上共计批准建设用地5.216公顷,其中转用农用地5.216公顷;征收集体土地5.216公顷。


二、你区须落实补充耕地,要补充数量相等、质量相当的耕地,切实做好耕地补充及其后期管护工作,落实建设占用耕地耕作层土壤剥离作用。


三、你区要严格依法履行征地批后实施程序,依法做好征地补偿安置工作,按照《中华人民共和国土地管理法》的要求,及时足额支付补偿费用,落实被征地农民的社会保障费用和安置措施,妥善解决好被征地农民的生产和生活,保障原有生活水平不降低,长远生计有保障。


四、请按照国家和省有关产业政策、供地政策及生态管控、大运河核心监控区管控相关要求做好供地工作,并将供地情况上报省自然资源厅备案。


五、有土壤污染风险的地块(重点监管单位、重点行业企业遗留地块等),在土地使用权收回、转让前应完成土壤污染状况调查和调查报告评审、备案,确定为非污染地块的,可以进入用地程序;用途拟变更为住宅、公共管理和公共服务用地的地块,变更前(出具规划条件文件前)应完成土壤污染状况调查和调查报告评审、备案,确定为非污染地块的,可以进入用地程序;地块调查报告评审后确定为污染地块的,污染地块未经风险评估、风险管控、修复,未达相应规划用地土壤环境质量要求的,不得进入用地程序。

2023年5月10日

江苏省人民政府关于铜山区

2023年度第3批次村镇建设用地的批复


铜山区人民政府:


你区呈报的(铜)地呈字〔2023〕第6号铜山区2023年度第3批次村镇建设用地收悉。根据《省政府关于委托用地审批权的决定》(苏政发〔2020〕40号),受省政府委托用地审批权,该批次由徐州市人民政府承接审批。经审查,现批复如下:


一、同意你区将大彭镇侯楼村2.6742公顷集体农用地(其中耕地0.0191公顷)转为建设用地并征收为国有。


以上共计批准建设用地2.6742公顷,其中转用农用地2.6742公顷;征收集体土地2.6742公顷。


二、你区须落实补充耕地,要补充数量相等、质量相当的耕地,切实做好耕地补充及其后期管护工作,落实建设占用耕地耕作层土壤剥离作用。


三、你区要严格依法履行征地批后实施程序,依法做好征地补偿安置工作,按照《中华人民共和国土地管理法》的要求,及时足额支付补偿费用,落实被征地农民的社会保障费用和安置措施,妥善解决好被征地农民的生产和生活,保障原有生活水平不降低,长远生计有保障。


四、请按照国家和省有关产业政策、供地政策及生态管控、大运河核心监控区管控相关要求做好供地工作,并将供地情况上报省自然资源厅备案。


五、有土壤污染风险的地块(重点监管单位、重点行业企业遗留地块等),在土地使用权收回、转让前应完成土壤污染状况调查和调查报告评审、备案,确定为非污染地块的,可以进入用地程序;用途拟变更为住宅、公共管理和公共服务用地的地块,变更前(出具规划条件文件前)应完成土壤污染状况调查和调查报告评审、备案,确定为非污染地块的,可以进入用地程序;地块调查报告评审后确定为污染地块的,污染地块未经风险评估、风险管控、修复,未达相应规划用地土壤环境质量要求的,不得进入用地程序。


2023年5月10日

江苏省人民政府关于铜山区

2023年度第4批次村镇建设用地的批复


铜山区人民政府:


你区呈报的(铜)地呈字〔2023〕第7号铜山区2023年度第4批次村镇建设用地收悉。根据《省政府关于委托用地审批权的决定》(苏政发〔2020〕40号),受省政府委托用地审批权,该批次由徐州市人民政府承接审批。经审查,现批复如下:


一、同意你区将新区街道麦楼社区、台上社区、驿城村、榆庄村14.4906公顷集体农用地(其中耕地14.4594公顷)和0.0426公顷集体未利用地转为建设用地并征收为国有,同时将新区街道麦楼社区、驿城村1.1564公顷集体建设用地征收为国有。


以上共计批准建设用地15.6896公顷,其中转用农用地14.4906公顷、未利用地0.0426公顷;征收集体土地15.6896公顷。


二、你区须落实补充耕地,要补充数量相等、质量相当的耕地,切实做好耕地补充及其后期管护工作,落实建设占用耕地耕作层土壤剥离作用。


三、你区要严格依法履行征地批后实施程序,依法做好征地补偿安置工作,按照《中华人民共和国土地管理法》的要求,及时足额支付补偿费用,落实被征地农民的社会保障费用和安置措施,妥善解决好被征地农民的生产和生活,保障原有生活水平不降低,长远生计有保障。


四、请按照国家和省有关产业政策、供地政策及生态管控、大运河核心监控区管控相关要求做好供地工作,并将供地情况上报省自然资源厅备案。


五、有土壤污染风险的地块(重点监管单位、重点行业企业遗留地块等),在土地使用权收回、转让前应完成土壤污染状况调查和调查报告评审、备案,确定为非污染地块的,可以进入用地程序;用途拟变更为住宅、公共管理和公共服务用地的地块,变更前(出具规划条件文件前)应完成土壤污染状况调查和调查报告评审、备案,确定为非污染地块的,可以进入用地程序;地块调查报告评审后确定为污染地块的,污染地块未经风险评估、风险管控、修复,未达相应规划用地土壤环境质量要求的,不得进入用地程序。


2023年5月10日

江苏省人民政府关于徐州市铜山区新型垃圾

中转站建设项目建设用地的批复


徐州市人民政府:


你市《关于申请办理徐州市铜山区新型垃圾中转站建设项目用地的请示》(徐政报〔2023〕14号)收悉,现批复如下:


一、同意你市将位于铜山区铜山街道的农民集体所有农用地0.794公顷(耕地0.794公顷)转为建设用地并征收为国有。


以上共计批准建设用地0.794公顷,其中转用农用地0.794公顷,征收土地0.794公顷,由当地人民政府依法依规供应,作为徐州市铜山区新型垃圾中转站建设项目建设用地,并纳入国土空间规划“一张图”实施监督。


二、你市要严格依法履行征地批后实施程序,依法做好征地补偿安置工作,按照《中华人民共和国土地管理法》的要求,及时足额支付补偿费用,落实被征地农民的社会保障费用和安置措施,妥善解决好被征地农民的生产和生活,保证原有生活水平不降低,长远生计有保障。征地补偿安置不落实的,不得动工用地。


三、你市须落实补充耕地。要督促补充耕地责任单位补充数量相等、质量相当的耕地,落实建设占用耕地耕作层土壤剥离利用,切实做好耕地补充及其后期管护工作。督促建设单位依法履行土地复垦义务。


四、严格按照国家有关规定征收新增建设用地有偿使用费,并确保工程实施过程中生态管控措施严格落实到位。


2023年5月9日

江苏省人民政府关于徐州市铜山区

五园强排泵站工程项目建设用地的批复


徐州市人民政府:


你市《关于申请办理五园强排泵站工程项目用地的请示》(徐政报〔2023〕13号)收悉,现批复如下:


一、同意你市将位于铜山区新区街道的农民集体所有农用地0.2662公顷(耕地0.2415公顷)、未利用地0.3125公顷转为建设用地并征收为国有。


以上共计批准建设用地0.5787公顷,其中转用农用地0.2662公顷,征收土地0.5787公顷,由当地人民政府依法依规供应,作为徐州市铜山区五园强排泵站工程项目建设用地,并纳入国土空间规划“一张图”实施监督。


二、你市要严格依法履行征地批后实施程序,依法做好征地补偿安置工作,按照《中华人民共和国土地管理法》的要求,及时足额支付补偿费用,落实被征地农民的社会保障费用和安置措施,妥善解决好被征地农民的生产和生活,保证原有生活水平不降低,长远生计有保障。征地补偿安置不落实的,不得动工用地。


三、你市须落实补充耕地。要督促补充耕地责任单位补充数量相等、质量相当的耕地,落实建设占用耕地耕作层土壤剥离利用,切实做好耕地补充及其后期管护工作。督促建设单位依法履行土地复垦义务。

四、严格按照国家有关规定征收新增建设用地有偿使用费,并确保工程实施过程中生态管控措施严格落实到位。


2023年5月9日

根据《中华人民共和国土地管理法》第四十七条、第四十八条,《中华人民共和国土地管理法实施条例》第二十七条、第二十八条,《江苏省土地管理条例》第三十七条的规定,依据《徐州市铜山区人民政府拟征收土地公告》(铜政公〔2022〕80号)开展的拟征收土地现状调查和社会稳定风险评估结果,现将拟订的征收土地补偿安置方案有关事项公告如下:


一、征收范围

本次拟征收土地位于棠张镇棠张村、夏湖村范围内,拟征收土地位置详见附图。

实际征收土地范围以最终批准文件为准。


二、土地现状

根据拟征收土地现状调查结果,本次拟征收土地现状如下:

1、拟征收棠张镇棠张村集体所有土地0.0532公顷(0.798亩)。其中农用地0.0532公顷(0.798亩),含耕地0.0365公顷(0.5475亩)、建设用地0公顷(0亩)、未利用地0公顷(0亩);

2、拟征收棠张镇夏湖村集体所有土地2.4299公顷(36.4485亩)。其中农用地2.4299公顷(36.4485亩),含耕地2.394公顷(35.91亩)、建设用地0公顷(0亩)、未利用地0公顷(0亩)。


三、征收目的

根据《中华人民共和国土地管理法》第四十五条第一款第(五)项“在土地利用总体规划确定的城镇建设用地范围内,经省级以上人民政府批准由县级以上地方人民政府组织实施的成片开发建设需要用地的”之规定,本次征收土地目的为由政府组织实施的成片开发建设需要用地。


四、补偿方式与标准

土地补偿费、安置补助费、青苗补偿及地上附着物补偿标准按《市政府关于公布徐州市征地区片综合地价标准的通知》(徐政发〔2020〕37号)的规定执行。


五、安置对象、方式及社会保障

本次征收土地涉及被征地农民的安置和社会保障按照《江苏省被征地农民社会保障办法》(苏政发〔2021〕87号)、《市政府关于公布徐州市征地区片综合地价标准的通知》(徐政发〔2020〕37号)、《市政府关于贯彻落实江苏省被征地农民社会保障办法的实施意见》(徐政规〔2022〕4号)的规定执行。不满16周岁的安置人员不作为被征地农民参加城乡社会保障,其本人的安置补助费由徐州市铜山区人民政府按规定足额支付。


六、其他事项

1、本公告在徐州市铜山区人民政府门户网站(www.zgts.gov.cn)和拟征收土地涉及的农村集体经济组织所在乡(镇)和村、村民小组范围内进行公告,听取被征地的农村集体经济组织及其成员、村民委员会和其他利害关系人的意见。本公告公示期为30日,自2023年5月10日至2023年6月9日。


2、对本征地补偿安置方案有异议的,应在本公告发布之日起30日内(截止2023年6月9日)提出,实名签名或盖章的书面意见最迟应于公告期满后5个工作日内提交。提交地址为:徐州市铜山区嘉源大厦6楼(徐州市铜山区自然资源和规划局)(联系人:马女士;电话:83319182;邮编:221100)。以邮寄方式寄送书面意见的以寄出邮戳日期为准。书面意见应明确、具体,认为本征地补偿安置方案不符合法律、法规规定,应予以明示。在规定时间内未提交书面意见的,视为无异议。


3、如过半数被征地的农村集体经济组织成员认为本征地补偿安置方案不符合法律、法规规定的,或者虽未过半数但有部分被征地的农村集体经济组织成员认为征地补偿安置方案不符合法律、法规规定,本级人民政府认为确有必要的,徐州市铜山区人民政府将依法组织听证,相关事项另行通知。


4、拟征收土地范围内的土地所有权人、使用权人应当在本公告规定期限内即2023年5月10日至2023年6月9日,持不动产权属证明材料至徐州市铜山区棠张镇人民政府(联系人:王先生;电话:80265781)办理补偿登记,请相互转告。土地所有权人、使用权人如未按期办理补偿登记的,其补偿内容以土地现状调查结果为准。


特此公告。


徐州市铜山区人民政府

2023年5月9日

根据《中华人民共和国土地管理法》第四十七条、第四十八条,《中华人民共和国土地管理法实施条例》第二十七条、第二十八条,《江苏省土地管理条例》第三十七条的规定,依据《徐州市铜山区人民政府拟征收土地公告》(铜政公〔2023〕21号)开展的拟征收土地现状调查和社会稳定风险评估结果,现将拟订的征收土地补偿安置方案有关事项公告如下:


一、征收范围

本次拟征收土地位于大彭镇大刘村、付庄村范围内,拟征收土地位置详见附图。

实际征收土地范围以最终批准文件为准。


二、土地现状

根据拟征收土地现状调查结果,本次拟征收土地现状如下:

1、拟征收大彭镇大刘村集体所有土地0.0226公顷(0.339亩)。其中农用地0.0226公顷(0.339亩),含耕地0.0226公顷(0.339亩)、建设用地0公顷(0亩),未利用地0公顷(0亩);

2、拟征收大彭镇付庄村集体所有土地3.6222公顷(54.333亩)。其中农用地3.031公顷(45.465亩),含耕地2.787公顷(41.805亩)、建设用地0.2056公顷(3.084亩),未利用地0.3856公顷(5.784亩)。


三、征收目的

根据《中华人民共和国土地管理法》第四十五条第一款第二项之规定,本次征收土地目的为由政府组织实施的交通基础设施建设需要用地。


四、补偿方式与标准

土地补偿费、安置补助费、青苗补偿及地上附着物补偿标准按《市政府关于公布徐州市征地区片综合地价标准的通知》(徐政发〔2020〕37号)的规定执行。

涉及农村村民住宅和其他房屋的,参照《徐州市征收集体土地房屋补偿办法》(徐州市人民政府令第146号)的规定执行,相关事项见《淮海国际陆港综合货运枢纽与京台高速公路连接线工程房屋征收补偿方案(征求意见稿)》。


五、安置对象、方式及社会保障

本次征收土地涉及被征地农民的安置和社会保障按照《江苏省被征地农民社会保障办法》(苏政发〔2021〕87号)、《市政府关于公布徐州市征地区片综合地价标准的通知》(徐政发〔2020〕37号)、《市政府关于贯彻落实江苏省被征地农民社会保障办法的实施意见》(徐政规〔2022〕4号)的规定执行。不满16周岁的安置人员不作为被征地农民参加城乡社会保障,其本人的安置补助费由徐州市铜山区人民政府按规定足额支付。


六、其他事项

1、本公告在徐州市铜山区人民政府门户网站(www.zgts.gov.cn)和拟征收土地涉及的农村集体经济组织所在乡(镇)和村、村民小组范围内进行公告,听取被征地的农村集体经济组织及其成员、村民委员会和其他利害关系人的意见。本公告公示期为30日,自2023年5月10日至2023年6月9日。

2、对本征地补偿安置方案有异议的,应在本公告发布之日起30日内(截止2023年6月9日)提出,实名签名或盖章的书面意见最迟应于公告期满后5个工作日内提交。提交地址为:徐州市铜山区嘉源大厦6楼(徐州市铜山区自然资源和规划局)(联系人:马女士;电话:83319182;邮编:221100)。以邮寄方式寄送书面意见的以寄出邮戳日期为准。书面意见应明确、具体,认为本征地补偿安置方案不符合法律、法规规定,应予以明示。在规定时间内未提交书面意见的,视为无异议。

3、如过半数被征地的农村集体经济组织成员认为本征地补偿安置方案不符合法律、法规规定的,或者虽未过半数但有部分被征地的农村集体经济组织成员认为征地补偿安置方案不符合法律、法规规定,本级人民政府认为确有必要的,徐州市铜山区人民政府将依法组织听证,相关事项另行通知。

4、拟征收土地范围内的土地所有权人、使用权人应当在本公告规定期限内即2023年5月10日至2023年6月9日,持不动产权属证明材料至徐州市铜山区大彭镇人民政府(联系人:孙先生;电话:85055898)办理补偿登记,请相互转告。土地所有权人、使用权人如未按期办理补偿登记的,其补偿内容以土地现状调查结果为准。

特此公告。

徐州市铜山区人民政府

2023年5月9日

附件

淮海国际陆港综合货运枢纽与京台高速公路连接线工程

房屋征收补偿方案

(征求意见稿)


淮海国际陆港综合货运枢纽与京台高速公路连接线工程是徐州市重点工程,为推进该项目房屋征收工作的顺利实施。切实维护征收当事人合法权益,《徐州市征收集体土地房屋补偿办法》(徐州市人民政府令第146号)、《市政府关于公布徐州市征地区片综合地价标准的通知》(徐政发〔2020〕37号)等规定,结合我区及大彭镇实际情况,特制定本补偿方案。


一、征收范围

该项目征收范围位于铜山区大彭镇大刘村、付庄村房屋及地面附着物(详见拟征收土地范围图)。


二、征收实施单位

该项目征收实施单位为徐州市铜山区大彭镇人民政府。


三、征收期限

征收期限为45日,签约期限为30日(具体时间以房屋征收公告为准)。


四、房屋征收与补偿

(一)被征收房屋合法建筑面积认定

被征收房屋合法建筑面积和土地面积是指不动产权证书记载的房屋建筑面积和土地使用权面积,或者房屋所有权证载明的房屋建筑面积和国有土地使用权证上载明的土地使用权面积。有房屋所有权和土地使用权不明、权属有争议等情形的,由实施单位、自然资源和规划、住建、不动产登记中心等部门进行调查、认定、处理。

(二)补偿政策

非住宅房屋的征收补偿采取货币补偿的方式,由具有相应资质的房地产价格评估机构对被征收房屋(含土地)、附着物进行评估,根据评估价值给予补偿。因征收造成企业停业、停产损失的给予一次性综合补助(见附表),因征收造成大型设备需要迁移的,迁移费用按评估价结算。

(三)有下列情况的,不予安置、补偿

1.非法取得的房屋;

2.违法用地、违法建设的房屋;

3.超出批准期限的临时建筑;

4.调查公告发布后,未经批准擅自进行新建、改建、扩建的部分。


五、奖励政策

签约期共30日,被征收人在签约期内签约并按期交房(地)的,分三个阶段给予奖励:第一阶段(前10日)内签约并交房(地)的按被征收房屋(地)评估价值的6%奖励;第二阶段(中间10日)内签约并交房(地)的按被征收房屋(地)评估价值的4%奖励;第三阶段(最后10日)内签约并交房(地)的按被征收房屋(地)评估价值的2%奖励。逾期签约交房(地)的不予奖励。


六、其他费用

搬迁补助费、临时安置补助费按附表执行。


七、依法作出补偿决定

征收人与被征收人在签约期限内达不成补偿协议,或者被征收房屋所有权人不明确的,由房屋征收部门报请作出房屋征收决定的市、县级人民政府依照《国有土地上房屋征收与补偿条例》(国务院令第590号)的规定,按照征收补偿方案作出补偿决定,并在房屋征收范围内予以公告。被征收人对补偿决定不服的,可在接到补偿决定之日起60日内向徐州市人民政府申请行政复议,也可以在6个月内向徐州市中级人民法院提起行政诉讼。

被征收人在法定期限内不申请行政复议或者不提起行政诉讼,在补偿决定规定的期限内又不搬迁的,征收人依法申请人民法院强制执行。


八、法律责任

(一)被征收人应当服从项目建设需要,积极按期搬迁。在征收公告规定的期限内,未达成征收协议的,按有关法规程序依法予以征收。

(二)被征收人弄虚作假,伪造土地、房产等证件的由公安机关依照《中华人民共和国治安管理处罚法》予以处罚,构成犯罪的移交司法机关依法处理。

(三)阻碍征收工作人员执行公务,威胁、辱骂、殴打工作人员的,由公安机关依照《中华人民共和国治安管理处罚法》进行处罚;构成犯罪的,由司法机关依法追究其刑事责任。

(四)征收工作人员玩忽职守、滥用职权、徇私舞弊的,依法给予行政处分;构成犯罪的,由司法机关追究刑事责任。


附表

根据《中华人民共和国土地管理法》《中华人民共和国土地管理法实施条例》《江苏省土地管理条例》有关规定,因公共利益需要,经徐州市铜山区人民政府决定,启动土地征收工作。现将有关情况公告如下:


一、征收目的

根据《中华人民共和国土地管理法》第四十五条第一款第三项之规定,本次征收土地的目的是由政府组织实施的教育公共事业用地。


二、征收范围

本次拟征收土地位于黄集镇黄西村范围内。拟征收土地位置详见附图。

实际征收土地范围以最终批准文件为准。


三、公告期限:

本拟征收土地公告期限为2023年 月 日至2023年 月 日。


四、工作安排:

拟征收土地公告发布后,徐州市铜山区人民政府将组织开展拟征收土地现状调查和社会稳定风险评估。拟征收土地现状调查内容包括:拟征收土地的位置、权属、地类、面积以及农村村民住宅、其他地上附着物和青苗等的位置、权属、种类和数量等。请土地所有权人、使用权人予以配合,并在《拟征收土地现状调查表》上对调查结果予以签名或盖章。拟征收土地社会稳定风险评估工作中,将听取被征地的农村集体经济组织及其成员、村民委员会和其他利害关系人的意见。


五、其他事项

自本拟征收土地公告发布之日起,任何单位和个人不得在拟征收范围内抢栽抢建;违反规定抢栽抢建的,对抢栽抢建部分不予补偿。

联系人:马女士;电话:83319182。


特此公告。

徐州市铜山区人民政府

2023年5月18日

根据《中华人民共和国土地管理法》《中华人民共和国土地管理法实施条例》《江苏省土地管理条例》有关规定,因公共利益需要,经徐州市铜山区人民政府决定,启动土地征收工作。现将有关情况公告如下:


一、征收目的

根据《中华人民共和国土地管理法》第四十五条第一款第二项之规定,本次征收土地的目的是由政府组织实施的水利基础设施建设需要用地。


二、征收范围

本次拟征收土地位于张集镇姥庙村范围内。拟征收土地位置详见附图。

实际征收土地范围以最终批准文件为准。


三、公告期限:

本拟征收土地公告期限为2023年5月19日至2023年6 月2日。


四、工作安排:

拟征收土地公告发布后,徐州市铜山区人民政府将组织开展拟征收土地现状调查和社会稳定风险评估。拟征收土地现状调查内容包括:拟征收土地的位置、权属、地类、面积以及农村村民住宅、其他地上附着物和青苗等的位置、权属、种类和数量等。请土地所有权人、使用权人予以配合,并在《拟征收土地现状调查表》上对调查结果予以签名或盖章。拟征收土地社会稳定风险评估工作中,将听取被征地的农村集体经济组织及其成员、村民委员会和其他利害关系人的意见。


五、其他事项

自本拟征收土地公告发布之日起,任何单位和个人不得在拟征收范围内抢栽抢建;违反规定抢栽抢建的,对抢栽抢建部分不予补偿。

联系人:马女士;电话:83319182。

特此公告。

徐州市铜山区人民政府

2023 年5月18日

根据《中华人民共和国土地管理法》第四十七条、第四十八条,《中华人民共和国土地管理法实施条例》第二十七条、第二十八条,《江苏省土地管理条例》第三十七条的规定,依据《徐州市铜山区人民政府拟征收土地公告》(铜政公〔2023〕41号)开展的拟征收土地现状调查和社会稳定风险评估结果,现将拟订的征收土地补偿安置方案有关事项公告如下:


一、征收范围

本次拟征收土地位于铜山街道文沃社区范围内,拟征收土地位置详见附图。

实际征收土地范围以最终批准文件为准。


二、土地现状

根据拟征收土地现状调查结果,本次拟征收土地现状如下:

拟征收铜山街道文沃社区集体所有土地1.8619公顷(27.9285亩),其中农用地0公顷(0亩),含耕地0公顷(0亩);建设用地1.8619公顷(27.9285亩);未利用地0公顷(0亩)。


三、征收目的

根据《中华人民共和国土地管理法》第四十五条第一款第三项之规定,本次征收土地的目的是由政府组织实施的教育公共事业用地。


四、补偿方式与标准

土地补偿费、安置补助费、青苗补偿及地上附着物补偿标准按《市政府关于公布徐州市征地区片综合地价标准的通知》(徐政发〔2020〕37号)的规定执行。


五、安置对象、方式及社会保障

本次征收土地涉及被征地农民的安置和社会保障按照《江苏省被征地农民社会保障办法》(苏政发〔2021〕87号)、《市政府关于公布徐州市征地区片综合地价标准的通知》(徐政发〔2020〕37号)、《市政府关于贯彻落实江苏省被征地农民社会保障办法的实施意见》(徐政规〔2022〕4号)的规定执行。不满16周岁的安置人员不作为被征地农民参加城乡社会保障,其本人的安置补助费由徐州市铜山区人民政府按规定足额支付。


六、其他事项

1、本公告在徐州市铜山区人民政府门户网站(www.zgts.gov.cn)和拟征收土地涉及的农村集体经济组织所在乡(镇)和村、村民小组范围内进行公告,听取被征地的农村集体经济组织及其成员、村民委员会和其他利害关系人的意见。本公告公示期为30日,自2023年5月31日至2023年6月30日。

2、对本征地补偿安置方案有异议的,应在本公告发布之日起30日内(截止2023年6月30日)提出,实名签名或盖章的书面意见最迟应于公告期满后5个工作日内提交。提交地址为:徐州市铜山区嘉源大厦6楼(徐州市铜山区自然资源和规划局)(联系人:马女士;电话:83319182;邮编:221100)。以邮寄方式寄送书面意见的以寄出邮戳日期为准。书面意见应明确、具体,认为本征地补偿安置方案不符合法律、法规规定,应予以明示。在规定时间内未提交书面意见的,视为无异议。

3、如过半数被征地的农村集体经济组织成员认为本征地补偿安置方案不符合法律、法规规定的,或者虽未过半数但有部分被征地的农村集体经济组织成员认为征地补偿安置方案不符合法律、法规规定,本级人民政府认为确有必要的,徐州市铜山区人民政府将依法组织听证,相关事项另行通知。

4、拟征收土地范围内的土地所有权人、使用权人应当在本公告规定期限内即2023年5月31日至2023年6月30日,持不动产权属证明材料至徐州市铜山区铜山街道办事处(联系人:温先生;电话:85027110)办理补偿登记,请相互转告。土地所有权人、使用权人如未按期办理补偿登记的,其补偿内容以土地现状调查结果为准。


特此公告。


徐州市铜山区人民政府

2023年5月30日

根据《中华人民共和国土地管理法》第四十七条、第四十八条,《中华人民共和国土地管理法实施条例》第二十七条、第二十八条,《江苏省土地管理条例》第三十七条的规定,依据《徐州市铜山区人民政府拟征收土地公告》(铜政公〔2023〕31号)开展的拟征收土地现状调查和社会稳定风险评估结果,现将拟订的征收土地补偿安置方案有关事项公告如下:


一、征收范围

本次拟征收土地位于铜山街道桥上村、葛楼村、望城村范围内,拟征收土地位置详见附图。

实际征收土地范围以最终批准文件为准。


二、土地现状

根据拟征收土地现状调查结果,本次拟征收土地现状如下:

1、拟征收铜山街道桥上村集体所有土地0.0519公顷(0.7785亩),其中农用地0公顷(0亩),含耕地0公顷(0亩);建设用地0.0519公顷(0.7785亩);未利用地0公顷(0亩);

2、拟征收铜山街道葛楼村集体所有土地0.1267公顷(1.9005亩),其中农用地0.1267公顷(1.9005亩),含耕地0.1135公顷(1.7025亩);建设用地0公顷(0亩);未利用地0公顷(0亩);

3、拟征收铜山街道望城村集体所有土地0.5234公顷(7.851亩),其中农用地0.3438公顷(5.157亩),含耕地0.295公顷(4.425亩);建设用地0公顷(0亩);未利用地0.1796公顷(2.694亩)。


三、征收目的

根据《中华人民共和国土地管理法》第四十五条第一款第二项之规定,本次征收土地目的为由政府组织实施的交通基础设施建设需要用地。


四、补偿方式与标准

土地补偿费、安置补助费、青苗补偿及地上附着物补偿标准按《市政府关于公布徐州市征地区片综合地价标准的通知》(徐政发〔2020〕37号)的规定执行。


五、安置对象、方式及社会保障

本次征收土地涉及被征地农民的安置和社会保障按照《江苏省被征地农民社会保障办法》(苏政发〔2021〕87号)、《市政府关于公布徐州市征地区片综合地价标准的通知》(徐政发〔2020〕37号)、《市政府关于贯彻落实江苏省被征地农民社会保障办法的实施意见》(徐政规〔2022〕4号)的规定执行。不满16周岁的安置人员不作为被征地农民参加城乡社会保障,其本人的安置补助费由徐州市铜山区人民政府按规定足额支付。


六、其他事项

1、本公告在徐州市铜山区人民政府门户网站(www.zgts.gov.cn)和拟征收土地涉及的农村集体经济组织所在乡(镇)和村、村民小组范围内进行公告,听取被征地的农村集体经济组织及其成员、村民委员会和其他利害关系人的意见。本公告公示期为30日,自2023年5月31日至2023年6月30日。

2、对本征地补偿安置方案有异议的,应在本公告发布之日起30日内(截止2023年6月30日)提出,实名签名或盖章的书面意见最迟应于公告期满后5个工作日内提交。提交地址为:徐州市铜山区嘉源大厦6楼(徐州市铜山区自然资源和规划局)(联系人:马女士;电话:83319182;邮编:221100)。以邮寄方式寄送书面意见的以寄出邮戳日期为准。书面意见应明确、具体,认为本征地补偿安置方案不符合法律、法规规定,应予以明示。在规定时间内未提交书面意见的,视为无异议。

3、如过半数被征地的农村集体经济组织成员认为本征地补偿安置方案不符合法律、法规规定的,或者虽未过半数但有部分被征地的农村集体经济组织成员认为征地补偿安置方案不符合法律、法规规定,本级人民政府认为确有必要的,徐州市铜山区人民政府将依法组织听证,相关事项另行通知。

4、拟征收土地范围内的土地所有权人、使用权人应当在本公告规定期限内即2023年5月31日至2023年6月30日,持不动产权属证明材料至徐州市铜山区铜山街道办事处(联系人:温先生;电话:85027110)办理补偿登记,请相互转告。土地所有权人、使用权人如未按期办理补偿登记的,其补偿内容以土地现状调查结果为准。

特此公告。


徐州市铜山区人民政府

2023年5月30日

根据《江苏省人民政府关于铜山区2023年度第3批次村镇建设用地的批复》(苏政地C〔2023〕029号,2023年5月10日批准征收),同意将我区大彭镇侯楼村2.6742公顷集体农用地(其中耕地0.0191公顷)转为建设用地并征收为国有。根据《中华人民共和国土地管理法》第四十七条、《中华人民共和国土地管理法实施条例》第三十一条、《江苏省土地管理条例》第四十条等法律法规的规定,现将批准的征收土地公告如下:

一、建设用地项目名称:铜山区2023年度第3批次村镇建设用地

二、征收土地位置:大彭镇侯楼村(具体位置详见附图)

三、涉及征收、转用单位及面积:

四、本公告公示期自2023年5月31日至2023年6月30日止。

特此公告。


徐州市铜山区人民政府

2023年5月30日

根据《江苏省人民政府关于铜山区2023年度第2批次村镇建设用地的批复》(苏政地C〔2023〕028号,2023年5月10日批准征收),同意将我区张集镇孟庄村、棠张镇后谷堆村5.216公顷集体农用地(其中耕地5.216公顷)转为建设用地并征收为国有。根据《中华人民共和国土地管理法》第四十七条、《中华人民共和国土地管理法实施条例》第三十一条、《江苏省土地管理条例》第四十条等法律法规的规定,现将批准的征收土地公告如下:

一、建设用地项目名称:铜山区2023年度第2批次村镇建设用地

二、征收土地位置张集镇孟庄村、棠张镇后谷堆村(具体位置详见附图)

三、涉及征收、转用单位及面积

四、本公告公示期自2023年5月31日至2023年6月30日止。

特此公告。


徐州市铜山区人民政府

2023年5月30日

根据《中华人民共和国土地管理法》《中华人民共和国土地管理法实施条例》《江苏省土地管理条例》有关规定,因公共利益需要,经徐州市铜山区人民政府决定,启动土地征收工作。现将有关情况公告如下:


一、征收目的

根据《中华人民共和国土地管理法》第四十五条第一款第五项“在土地利用总体规划确定的城镇建设用地范围内,经省级以上人民政府批准由县级以上地方人民政府组织实施的成片开发建设需要用地的”之规定,本次征收土地目的为由政府组织实施的成片开发建设需要用地。


二、征收范围

本次拟征收土地位于利国镇墓山村范围内。拟征收土地位置详见附图。

实际征收土地范围以最终批准文件为准。


三、公告期限:

本拟征收土地公告期限为2023年5月31日至2023年6月14日。


四、工作安排:

拟征收土地公告发布后,徐州市铜山区人民政府将组织开展拟征收土地现状调查和社会稳定风险评估。拟征收土地现状调查内容包括:拟征收土地的位置、权属、地类、面积以及农村村民住宅、其他地上附着物和青苗等的位置、权属、种类和数量等。请土地所有权人、使用权人予以配合,并在《拟征收土地现状调查表》上对调查结果予以签名或盖章。拟征收土地社会稳定风险评估工作中,将听取被征地的农村集体经济组织及其成员、村民委员会和其他利害关系人的意见。


五、其他事项

自本拟征收土地公告发布之日起,任何单位和个人不得在拟征收范围内抢栽抢建;违反规定抢栽抢建的,对抢栽抢建部分不予补偿。

联系人:马女士;电话:83319182。


特此公告。


徐州市铜山区人民政府

2023年5月30日

根据《江苏省人民政府关于徐州市铜山区新型垃圾中转站建设项目建设用地的批复》(苏政地〔2023〕180号,2023年5月9日批准征收),同意将我区铜山街道汉沟村0.794公顷集体农用地(其中耕地0.794公顷)转为建设用地并征收为国有。根据《中华人民共和国土地管理法》第四十七条、《中华人民共和国土地管理法实施条例》第三十一条、《江苏省土地管理条例》第四十条等法律法规的规定,现将批准的征收土地公告如下:

一、建设用地项目名称:新型垃圾中转站建设项目

二、征收土地位置铜山街道汉沟村(具体位置详见附图)

三、涉及征收、转用单位及面积:

四、本公告公示期自2023年5月31日至2023年6月30日止。


特此公告。


徐州市铜山区人民政府

2023年5月30日

柳泉镇成片开发南园片区项目位于柳泉镇涝泉村、辛家村、西马村。《铜山区人民政府拟征收土地公告》(铜政公〔2021〕106号)于2021年10月27日发布,《徐州市铜山区人民政府征地补偿安置方案公告》(铜政公〔2022〕24号)于2022年3月2日发布。按照《自然资源部办公厅关于以“三调”成果为基础做好建设用地审查报批地类认定的通知》(自然资办函〔2022〕411号)要求,《徐州市铜山区人民政府公告》(铜政公〔2022〕36号)于2022年5月26日发布。现按照自然资源部通知要求,“其他草地”(0404)纳入“农用地”统计,该项目拟征土地地类及面积结构调整如下:

原公告中的地类结构与本公告不一致的,以实际征收面积为准,土地补偿安置按照《江苏省被征地农民社会保障办法》(苏政发〔2021〕87号)、《市政府关于公布徐州市征地区片综合地价标准的通知》(徐政发〔2020〕37号)、《市政府关于贯彻落实江苏省被征地农民社会保障办法的实施意见》(徐政规〔2022〕4号)执行。


特此公告。


徐州市铜山区人民政府

2023年5月30日

根据《中华人民共和国土地管理法》《中华人民共和国土地管理法实施条例》《江苏省土地管理条例》有关规定,因公共利益需要,经徐州市铜山区人民政府决定,启动土地征收工作。现将有关情况公告如下:


一、征收目的

根据《中华人民共和国土地管理法》第四十五条第一款第三项之规定,本次征收土地目的为由政府组织实施的市政公用公共事业用地。


二、征收范围

本次拟征收土地位于伊庄镇吕梁村范围内。拟征收土地位置详见附图。

实际征收土地范围以最终批准文件为准。


三、公告期限:

本拟征收土地公告期限为2023年6月2日至2023年6月16日。


四、工作安排:

拟征收土地公告发布后,徐州市铜山区人民政府将组织开展拟征收土地现状调查和社会稳定风险评估。拟征收土地现状调查内容包括:拟征收土地的位置、权属、地类、面积以及农村村民住宅、其他地上附着物和青苗等的位置、权属、种类和数量等。请土地所有权人、使用权人予以配合,并在《拟征收土地现状调查表》上对调查结果予以签名或盖章。拟征收土地社会稳定风险评估工作中,将听取被征地的农村集体经济组织及其成员、村民委员会和其他利害关系人的意见。


五、其他事项

自本拟征收土地公告发布之日起,任何单位和个人不得在拟征收范围内抢栽抢建;违反规定抢栽抢建的,对抢栽抢建部分不予补偿。


联系人:马女士;电话:83319182。

特此公告。

徐州市铜山区人民政府

2023年6月1日

根据《中华人民共和国土地管理法》第四十七条、第四十八条,《中华人民共和国土地管理法实施条例》第二十七条、第二十八条,《江苏省土地管理条例》第三十七条的规定,依据《徐州市铜山区人民政府拟征收土地公告》(铜政公〔2023〕42号)开展的拟征收土地现状调查和社会稳定风险评估结果,现将拟订的征收土地补偿安置方案有关事项公告如下:


一、征收范围

本次拟征收土地位于房村镇房村村范围内,拟征收土地位置详见附图。

实际征收土地范围以最终批准文件为准。


二、土地现状

根据拟征收土地现状调查结果,本次拟征收土地现状如下:

拟征收房村镇房村村集体所有土地0.3479公顷(5.2185亩),其中农用地0.1576公顷(2.364亩),含耕地0公顷(0亩);建设用地0.1903公顷(2.8545亩);未利用地0公顷(0亩)。


三、征收目的

根据《中华人民共和国土地管理法》第四十五条第一款第三项之规定,本次征收土地目的为由政府组织实施的市政公用公共事业需要用地。


四、补偿方式与标准

土地补偿费、安置补助费、青苗补偿及地上附着物补偿标准按《市政府关于公布徐州市征地区片综合地价标准的通知》(徐政发〔2020〕37号)的规定执行。


五、安置对象、方式及社会保障

本次征收土地涉及被征地农民的安置和社会保障按照《江苏省被征地农民社会保障办法》(苏政发〔2021〕87号)、《市政府关于公布徐州市征地区片综合地价标准的通知》(徐政发〔2020〕37号)、《市政府关于贯彻落实江苏省被征地农民社会保障办法的实施意见》(徐政规〔2022〕4号)的规定执行。不满16周岁的安置人员不作为被征地农民参加城乡社会保障,其本人的安置补助费由徐州市铜山区人民政府按规定足额支付。


六、其他事项

1、本公告在徐州市铜山区人民政府门户网站(www.zgts.gov.cn)和拟征收土地涉及的农村集体经济组织所在乡(镇)和村、村民小组范围内进行公告,听取被征地的农村集体经济组织及其成员、村民委员会和其他利害关系人的意见。本公告公示期为30日,自2023年6月2日至2023年7月2日。

2、对本征地补偿安置方案有异议的,应在本公告发布之日起30日内(截止2023年7月2日)提出,实名签名或盖章的书面意见最迟应于公告期满后5个工作日内提交。提交地址为:徐州市铜山区嘉源大厦6楼(徐州市铜山区自然资源和规划局)(联系人:马女士;电话:83319182;邮编:221100)。以邮寄方式寄送书面意见的以寄出邮戳日期为准。书面意见应明确、具体,认为本征地补偿安置方案不符合法律、法规规定,应予以明示。在规定时间内未提交书面意见的,视为无异议。

3、如过半数被征地的农村集体经济组织成员认为本征地补偿安置方案不符合法律、法规规定的,或者虽未过半数但有部分被征地的农村集体经济组织成员认为征地补偿安置方案不符合法律、法规规定,本级人民政府认为确有必要的,徐州市铜山区人民政府将依法组织听证,相关事项另行通知。

4、拟征收土地范围内的土地所有权人、使用权人应当在本公告规定期限内即2023年6月2日至2023年7月2日,持不动产权属证明材料至徐州市铜山区房村镇人民政府(联系人:何先生;电话:83071558)办理补偿登记,请相互转告。土地所有权人、使用权人如未按期办理补偿登记的,其补偿内容以土地现状调查结果为准。

特此公告。


徐州市铜山区人民政府

2023年6月1日

凡注明"来源:写字楼网"的稿件为本网独家原创稿件,引用或转载请注明出处。